市政公用工程
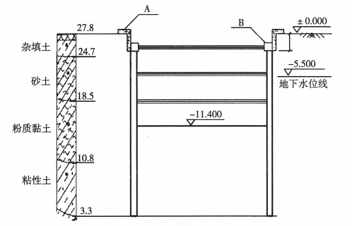
简答题某地铁隧道总长 646.8m,宽21m,全长划分6段分段进行基坑施工,其中2号基坑长107.8m,宽 21.05m,基坑深度11.4m,地铁车站2号基坑横断面示意图如图所示。基坑采用地下连续墙十三道钢管内支撑支护,地下连续墙厚度0.8m。在基坑围护结构施工范围内土体中含有丰富的潜水,地面以下最大埋深15.8m。
事件一:根据施工范围内的地质水文条件,施工单位选择中700mm管井降水方法,沿基坑长度方向上双排布置,井间距为 4m。并点管安装到位后,作业人员及时向孔内投放了滤料,上部用黏土填满压实,结构示意图如图所示。
1.写出图7中A、B的名称,并指出A结构有哪4个主要作用。
2.列式计算地铁车站2号基坑地下连续墙围护结构的入土深度和降水深度。
3.指出事件一中图8中C和D的名称,并简述C的主要作用有哪些。
4.指出事件二中图9中E的名称,并写出除了刚性接头之外,还有哪些柔性接头的方式。
5.施工单位对地下连续墙槽壁进行加固宜采用何种方法?地下连续墙一字形槽段长度的最小值宜取多少 m?
地体2号基坑横断面图
在进行2号基坑施工过程中,发生如下事件:事件一:根据施工范围内的地质水文条件,施工单位选择中700mm管井降水方法,沿基坑长度方向上双排布置,井间距为 4m。并点管安装到位后,作业人员及时向孔内投放了滤料,上部用黏土填满压实,结构示意图如图所示。
管井井管结构示意图
事件二:基坑施工阶段地下连续墙需要形成整体墙,同时作为止水帷幕,并在永久使用阶段用作地铁隧道结构外墙,槽段之间采用了十字钢板接头,如图所示。在进行成施工时,对稳定性较差的槽壁,施工单位选取了较小的槽段长度进行施工,并对壁进行了加固。
十字形穿孔钢板接头示意图
【问题】1.写出图7中A、B的名称,并指出A结构有哪4个主要作用。
2.列式计算地铁车站2号基坑地下连续墙围护结构的入土深度和降水深度。
3.指出事件一中图8中C和D的名称,并简述C的主要作用有哪些。
4.指出事件二中图9中E的名称,并写出除了刚性接头之外,还有哪些柔性接头的方式。
5.施工单位对地下连续墙槽壁进行加固宜采用何种方法?地下连续墙一字形槽段长度的最小值宜取多少 m?
参考答案:暂无进入在线模考
1.A:导墙;B:冠梁;
导墙的作用:挡土、基准作用、承重、存蓄泥浆
2.入土深度:27.8-3.3-11.4=13.1(m)
降水深度:0-(-11.4)十0.5=11.9(m)。
3.C:滤管(或滤水管、过滤器);D:井壁管;
主要作用:①滤水(或抽水、吸水);②挡砂(或防止泥土流失);③护壁。
4.接头箱;其他柔性接头的方式:圆形锁口管接头、波纹管接头、楔形接头、工字钢接头、混凝土预制接头。
5.水泥土搅拌桩;地下连续墙一字形槽段长度的最小值宜取4m。
理由:地下连续墙的一字形槽段长度宜取4~6m。当成槽施工可能对周边环境产生不利影响或槽
壁稳定性较差时,应取较小的槽段长度。必要时宜采用搅拌桩对槽壁进行加固。
导墙的作用:挡土、基准作用、承重、存蓄泥浆
2.入土深度:27.8-3.3-11.4=13.1(m)
降水深度:0-(-11.4)十0.5=11.9(m)。
3.C:滤管(或滤水管、过滤器);D:井壁管;
主要作用:①滤水(或抽水、吸水);②挡砂(或防止泥土流失);③护壁。
4.接头箱;其他柔性接头的方式:圆形锁口管接头、波纹管接头、楔形接头、工字钢接头、混凝土预制接头。
5.水泥土搅拌桩;地下连续墙一字形槽段长度的最小值宜取4m。
理由:地下连续墙的一字形槽段长度宜取4~6m。当成槽施工可能对周边环境产生不利影响或槽
壁稳定性较差时,应取较小的槽段长度。必要时宜采用搅拌桩对槽壁进行加固。
你可能感兴趣的试题
最新试题
背景资料: 某公司中标一座城市跨河桥梁,该桥跨河部分总长101.5m,上部结构为30m+41.5m+30m三跨预应力混凝
类型:简答题2026-03-10
某地铁隧道总长 646.8m,宽21m,全长划分6段分段进行基坑施工,其中2号基坑长107.8m,宽 21.05m,基坑
类型:简答题2026-03-10
【背景资料】 某施工单位中标一城镇主干路及地下综合管廊工程施工,机动车道为双向8车道,每车道的宽度为 3.5m。其路面结
类型:简答题2026-03-10
[背景资料] A公司承建一座城市桥梁工程,将桥台土方开挖分包给有资质的B公司。基坑采用明挖法放坡开挖施工,基坑平面尺寸
类型:简答题2026-03-10
背景资料 某公司承建一座城市桥梁工程,该桥跨越一条季节性河道,该河道为50cm厚的混凝土底板和混凝土护坡,两侧边坡坡度均
类型:简答题2026-03-10
以下关于透水铺装施工的说法,正确的是( )。
类型:单选题2026-03-10
供热管道穿过基础、墙体、楼板处应安装套管,以下关于安装要求的说法错误的是( )。
类型:单选题2026-03-10
下列关于现浇混凝土挡土墙浇筑工艺的说法, 错误的是 (
类型:单选题2026-03-10
下列城市给水排水工程绿色建造,说法有误的是( )。
类型:单选题2026-03-10
普通沥青混合料中面层采用采用自动找平方式摊铺时,控制高程的方式可采用( )引导
类型:单选题2026-03-10
