机电工程
简答题A公司承接—机电工程项目,承包内容包括通风空调工程,建筑智能化工程,建筑给排水及供暖和消防工程。其中通风空调和供暖工程分包给B公司施工,工程设备(热泵、风机盘管)管材(钢管、塑料管)传感器、阀门等均由A公司采购。其中热泵、风机盘管设备由建设单位指定生产厂家。
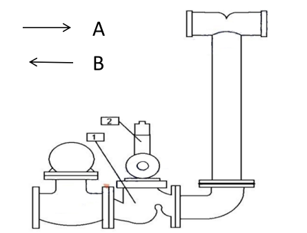
施工中,A公司发现以下问题并进行了整改:
(1)空气传感器安装不符合规范要求,如图1所示。

问题:
1.图1中空气传感器安装应如何整改?写出空气传感器安装位置要求。
施工中,A公司发现以下问题并进行了整改:
(1)空气传感器安装不符合规范要求,如图1所示。

问题:
1.图1中空气传感器安装应如何整改?写出空气传感器安装位置要求。
参考答案:暂无进入在线模考
1.
(1)整改:CO 传感器应安装在房间的上部, CO2 传感器应安呆在房间的下部
(2)空气质量传感器的安装位置,应选择能正确反映空气质量状况的地方。
(1)整改:CO 传感器应安装在房间的上部, CO2 传感器应安呆在房间的下部
(2)空气质量传感器的安装位置,应选择能正确反映空气质量状况的地方。
你可能感兴趣的试题
最新试题
背景资料 某机电工程公司施工总承包了一项大型原油储备库工程,该工程主要包括4台50000m3浮顶原油储罐及其配套系统和设
类型:简答题2025-09-09
因工厂搬迁建设临时厂房,安装公司承包工程,内容包括整体设备安装,解体设备安装,电气设备安装,管道安装。针对安装中交叉作业
类型:简答题2025-09-09
背景资料 某住宅小区建设一座热力站,小区住宅楼采用低温地板辐射采暖系统供热,该热力站内的设备、管道、电气、台控系统等安装
类型:简答题2025-09-09
通风、净化空调系统的风管应设防火阀情况有().
类型:多选题2025-09-09
关于轧机主机设备安装要求说法有正确的是( )。
类型:多选题2025-09-09
下列关于气体绝缘金属封闭开关(GIS) 设备安装技术,说法有误的是( )。
类型:单选题2025-09-09
关于伺服电动机,说法错误的是( )。
类型:单选题2025-09-09
柴油发电机组的性能参数有( )
类型:多选题2025-09-08
【背景资料】 某施工单位承建一安装工程,项目地处南方,正值雨季。项目部进场后,编制施工进度计划、施工方案。方案中确定施工
类型:简答题2025-09-08
背景资料: 某施工单位承接了一处500kt/d的金属矿综合回收技术改造项目。该项目的熔炼房内设计有一台桥式起重机 (额定
类型:简答题2025-09-08




