如果未按本判决指定的期间履行给付金钱义务,应当按照《中华人民共和国民事诉讼法》第二百五十三条之规定,加倍支付迟延履行期间的债务利息。案件受理费3263元、公告费417元,合计3680元,由蓝伟程、亿房公司负担。
工商资料显示,武汉亿房房地产咨询有限责任公司(简称:亿房地产)成立于2006年3月29日,注册资本100万人民币,法人代表李大钢,股东为陈春生(持股80%)、李大钢(持股20%)。
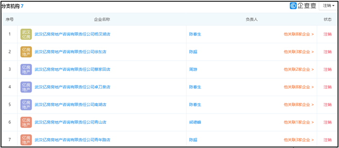
企查查数据显示,亿房地产旗下7家分支机构(包括杨汊湖店、徐东店、蔡家田店、卓刀泉店、南湖店、青山店、青年路店)均已注销。此外,2019年12月17日,武汉市江汉区市场监督管理局将亿房地产列入经营异常名录,原因为通过登记的住所或经营场所无法联系。

探长读财注意到,亿房地产是亿房网的关联企业,亿房网法人代表兼股东李大刚为亿房网创始人。亿房网提供产品及服务包括媒体资讯、论坛社区、新房、二手房、租房,商铺、写字楼,以及装修服务。
公开资料显示,亿房网成立于1999年,曾是武汉房地产第一门户网站,也是湖北较早挂牌新三板的公司之一。亿房网官方简介显示,其在武汉三镇拥有80多家线下中介门店,形成“线上网站+线下店面”的实体网络终端和立体销售网络。2017年,亿房网由盈转亏,去年亏损更达到3743.99万元,沦为ST股。
2019年10月31日,ST亿房网发布公告称,因信息披露事务工作人员长期休病假,公司无法披露2019年半年报。ST亿房网也成为湖北唯一因未披露2019年半年报而被强制摘牌的新三板公司。